全网倒卖的最强短信在线轰炸系统源码 自带13000+接口

全网倒卖的最强短信在线轰炸系统源码 自带13000+接口插图

全网倒卖的最强短信在线轰炸系统源码 自带13000+接口插图1

全网倒卖的最强短信在线轰炸系统源码 自带13000+接口插图2

分享一个修复版短信轰炸系统
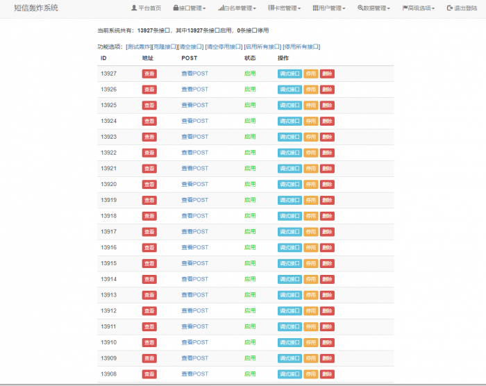
自带13000+轰炸接口
安装教程:
上传源码到服务器或主机根目录解压
然后访问域名/install安装
安装好之后我们会发现并没有短信轰炸接口
然后我们去数据库里面找到msg_api.sql这个表然后删除
删除之后我们导入提供的这个表
导入之后去网站后台刷新一下就会发现接口已经导入了
短信接口资源来自于互联网 具体能有多少有效自测

文章附件

蓝奏网盘

© 版权声明
THE END
喜欢就支持一下吧
点赞0赞赏 分享
评论 抢沙发

请登录后发表评论

    暂无评论内容